customer service
Hennen's Furniture Provides Free Anti-Tip Kits
Anchor & protect: two words key to childproofing furniture & TVs

Children like to climb. Children like to climb on furniture. For them, the home is a playground. As you childproof your home you may not be aware that unsecured TVs, furniture and appliances are potential hazards.
To prevent a tip-over tragedy
Hennen's Furniture provides life saving anti-tip kits with all of our chests or dressers over 30" high. Install them immediately upon your furniture delivery.
Need additional anti-tip kits for your home? We provide FREE anti-tip kits at all Hennen's Furniture showrooms. See guest services.
Remember to remove tempting objects such as toys and remote controls from the top of your furniture. TV’s placed on top of furniture should also be secured with special TV straps to prevent tip overs. Anti-tip kits are NOT suitable to be used as TV straps.
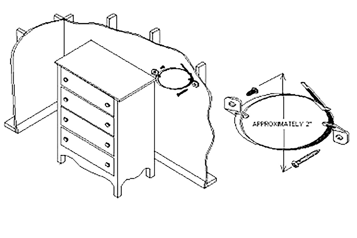
Furniture tipping restraint installation instructions

A tip restraint must be attached to a wall stud using the 2" screw enclosed:
- Attach a bracket to the back top rail or back top edge of the furniture using the 5/8" screw provided, through the smaller hole in the brackets.
- Locate the other bracket on the wall over a wall stud and 2 inches below the mounting bracket secured to the back of your unit. Attach to the wall stud using the 2" screw provided, through the smaller hole.
- Place the furniture into position so both mounting brackets are vertically in line.
- Lace the end of the restraint strap through the larger hole in each mounting bracket. Bring both ends together and slide the flat end through the locking end and draw it through until all slack is removed.
- Confirm that the strap is securely laced and locked.